การพยากรณ์คลื่นโดยวิธีตรง (Manual Methods)
1. บทนำ
มีสูตรต่างๆมากมายสำหรับหาค่าการเติบโตของคลื่น ซึ่งได้มาจากกลุ่มข้อมูลจำนวนมากของการสังเกตด้วยสายตา นอกจากนี้ได้มีการคิดค้นสูตรซึ่งใช้ฐานข้อมูลของคลื่นที่ได้มาจากเครื่องมีอวัด ซึ่งสูตรเหล่านี้ไม่ได้แยกคุณสมบัติทางกายภาพออกไป และสูตรที่ได้นี้จะแสดงการเติบโตของคลื่น ก็ต่อเมื่อเราทราบค่าของคุณสมบัติของ Wind field ซึ่งประกอบด้วย
มีความต่างกันของค่าความสูงคลื่น และ Period ระหว่าง ข้อมูลที่ได้จากการสังเกต กับ ข้อมูลที่ได้จากการวัดด้วยเครื่องมือ ซึ่งจะส่งผลกระทบต่อการพยากรณ์คลื่น ซึ่งโดยปกติแล้วตาของคนเรานั้นจะสนใจเฉพาะคลื่นที่ใกล้กว่าและชันกว่า ดังนั้นการสังเกตความสูงคลื่นด้วยสายตานั้นจะถูกประมาณเป็นค่าของ Significant wave height
ขณะที่การสังเกต Wave period ด้วยสายตานั้น จะสังเกตได้ค่อนข้างสั้นกว่าการใช้เครื่องมือวัด และได้มีสูตรหลายสูตรซึ่งจะทำการเปลี่ยนข้อมูลที่ได้จากการสังเกตด้วยสายตา
ให้มีความถูกต้องมากกว่าเดิม สำหรับประโยชน์ที่ได้จากการเปลี่ยนข้อมูลทั้งหมดนั้น เราจะเห็นได้ว่า มันจะไม่คุ้มค่ากับการปฏิบัติมากนัก ซึ่งการดำเนินการดังกล่าวจะใช้ประโยชน์ในการนำเสนอทางด้านกราฟมากกว่า ซึ่งความสัมพันธ์ของวิธีการต่างๆเหล่านี้ ได้มีการทำมาปฏิบัติมาตั้งแต่กลางทศวรรษที่ 40 แล้ว
ดังเช่น เส้นโค้งที่ถูกพัฒนาโดย Sverdrup และ Munk และ เส้นโค้งของ Pierson-Neumann-James หรือ PNJ ทั้งสองทฤษฎีมีความเหมือนกันตรงที่การใช้สมการพื้นฐาน ซึ่งถูกอนุมานโดยการวิเคราะห์มาจากจำนวนข้อมูลมากๆของการสังเกตด้วยสายตา โดยใช้ทฤษฎีทางด้านกราฟ เพื่อให้เราได้ทราบค่าตัวแปรของลักษณะของคลื่น แต่อย่างไรก็ตามทั้งสองทฤษฎีนี้มีความต่างกันตรงที่วิธีการระบุ Wave field นั่นคือ ทฤษฎีแรกแสดงผลของWave field โดยแสดงในรูปของ
และ
ขณะที่ ทฤษฎีที่สองแสดงผลของ Wave field ในเทอมของ Wave spectrum ซึ่งข้อได้เปรียบส่วนใหญ่ของทฤษฎีของ PNJ นั้น คือมีความสมบูรณ์ในการแสดงผลที่ดีกว่า แต่ก็มีข้อเสียตรงที่จำเป็นต้องใช้เวลาในการคำนวณมาก
ต่อมาลักษณะของเส้นโค้งทั้งหมดได้ถูกพัฒนาโดย Groen และ Dorrestein หรือ GD ลักษณะของเส้นโค้งเหล่านี้ประกอบด้วยข้อมูลต่างๆมากมายที่ใช้สำหรับการคำนวณความสูงคลื่น และ Period เมื่อให้ค่าของ ความเร็วลม, ระยะFetch, ระยะเวลา และ ผลกระทบของ Refraction และ Shoaling ซึ่งเส้นโค้งนี้มีความแตกต่างเล็กน้อยจากที่พบในเส้นโค้งของ PNJ ยกเว้นที่ความสูงคลื่น และ Period เราจะเรียกมันว่า Characteristic wave height
และ Period
แทน
และ
ตามลำดับ และ หน่วย MKS (เมตรต่อวินาที) แทน ฟุต และ Knot แต่ทั้ง PNJ และ GD นั้นได้รับข้อมูลจากการสังเกตด้วยสายตาเหมือนกัน และมีความต่างกันเพียงเล็กน้อยระหว่างตัวแปร Characteristic และ Significant นั่นคือ
และ
มีค่าสูงกว่าเมื่อเทียบกับ
และ
ซึ่งประเมินมาจากการใช้เครื่องมือวัด แต่อย่างไรก็ตามความแตกต่างนั้นไม่นำมาคำนึงสำหรับการคำนวณ และค่าของ
และ
ถูกใช้ประกอบในเส้นโค้ง GD ด้วย
รูปที่ 1 แสดง เส้นโค้ง GD สำหรับน้ำลึก กราฟนี้จะถูกใช้ในการคำนวณคลื่นในบทนี้ ส่วนเส้นโค้ง PNJ สำหรับตัวอย่างในรูปที่ 1 เส้นทึบดำแสดงการเติบโตของคลื่น ตามการเพิ่มขึ้นของระยะ Fetch ซึ่งแสดงโดยเส้นบางๆที่ลาดเอียง ซึ่งแต่ละเส้นทึบสำพันธ์กับ ความเร็วลมที่คงที่
ถูกแสดงเป็นเส้นแนวนอน และ
เป็น เส้นประ ส่วนเส้นแนวตั้งระบุระยะเวลา ที่ซึ่งโอกาสของการเติบโตจะมาถึงที่เวลานั้น และถ้าระยะเวลาเป็น Limited factor คลื่นจะไม่เติบโตตามเส้นทึบดำ (เส้นของ ระยะ Fetch)
จากกราฟ เราจะเห็นว่า ทางขวาของกราฟนั้น เส้นโค้งมีลักษณะเกือบที่จะเป็นเส้นในแนวนอน นั่นหมายความว่า สำหรับการให้ค่าความเร็วลมค่าหนึ่ง คลื่นจะหยุดเติบโตเมื่อค่าของระยะเวลา หรือ ระยะ Fetch มีค่าอยู่ในระดับหนึ่ง ส่วนรูปที่ 2 เป็นการแสดงที่เหมือนกัน สำหรับการให้ค่าของ ความเร็วลม, ระยะ Fetch และ ระยะเวลา สำหรับนักพยากรณ์นั้นจะเลือกใช้กราฟในรูปที่ 1 ขึ้นอยู่กับความเหมาะสมของในแต่ละสถานการณ์
ในบทนี้จะแสดงตัวอย่างจากหลายๆสถานการณ์ของการพยากรณ์ ซึ่งแต่ละตัวอย่างได้ถูกออกแบบเพื่อแสดงว่าเราจะพยากรณ์อย่างไรสำหรับแต่ละสถานการณ์นั้นๆ สำหรับขั้นตอนในการคำนวณจะอธิบายอย่างย่อๆในส่วนที่ 2 และขั้นตอนเหล่านี้จะนำมาคำนวณหาค่าจริงๆ ซึ่งจะแสดงในส่วนที่ 3 และ 4 สำหรับจุดเด่นของตัวอย่างในส่วนที่ 3 คือ ความหลากหลายของการคำนวณ Wind wave ส่วนตัวอย่างของการคำนวณ Swell wave จะแสดงในส่วนที่ 4 สำหรับตัวอย่างทั้งหมดในส่วนที่ 3 และ 4 นั้นจะอยู่ภายใต้เงื่อนไขของคลื่นที่เกิดในน้ำลึก และในส่วนที่ 5 จะมีตัวอย่างเล็กน้อยของการประยุกต์โดยวิธีตรงสำหรับเงื่อนไขของคลื่นในน้ำตื้น หรือความลึกจำกัด ตาราง 1 สรุปแต่ละตัวอย่างที่ให้ และแบ่งเป็นส่วนย่อยต่างๆในบทนี้

รูปที่ 1 ไดอะแกรมการพยากรณ์แบบปฏบัติ (from Gr๖en and Dorrestein, 1976)
ตาราง 1 ระบุตัวอย่างที่จะแสดงในบทนี้ รวมถึงจำนวนของส่วนย่อยต่างๆ
|
ลักษณะ |
ส่วนย่อย |
|
|
1 |
การหาค่าสภาวะทางทะเลเมื่อทราบค่าความเร็วลม และ ระยะ Fetch |
3.1 |
|
2 |
การหาค่าสภาวะทางทะเลเมื่อความเร็วลมเพิ่มขึ้น |
3.2 |
|
3 |
การประมาณการคงอยู่ของ Wave field ซึ่งมีการเติบโตจากความเร็วลมที่คงที่ |
3.3 |
|
4 |
การประมาณการคงอยู่ของ Wave field ซึ่งมีการเติบโตจากความเร็วลมที่เพิ่มขึ้น |
3.4 |
|
5 |
การคำนวณว่าเมื่อไรที่ Swell wave จะมาถึง, Period จะมีค่าเท่าไร และ ค่าของ Period จะเป็นอย่างไรหลังจากเวลาผ่านไป 36 ชั่วโมง หลังจากที่คลื่นแรกมาถึง |
4.1 |
|
6 |
เหมือนในข้อ 5 ยกเว้น Long fetch จะถูกแสดงในข้อนี้ |
4.2 |
|
7 |
การคำนวณลักษณะของ Swell wave ณ เมือง Casablanca สำหรับพายุที่มีจุดกำเนิดอยู่ใกล้ๆ |
4.3 |
|
8 |
คาดคะเนความสูงของ Swell wave สำหรับกรณีที่ 5, 6 และ 7 |
4.4 |
|
9 |
การกำหนด Wave number และ Shoaling factor สำหรับ สอง Wave period และ แสดงค่าในหลายๆระดับความลึก |
5.1.1 |
|
10 |
ทราบค่า มุมของคลื่นกับพื้นในน้ำลึก, ความลึกของน้ำตื้น และ Wave period หาค่า Refraction factor และ มุม ในน้ำตื้น |
5.1.2 |
|
11 |
หาค่า |
5.1.3 |
|
12 |
หาค่าความสูง และ Period ในน้ำตื้นเมื่อทราบค่า ความเร็วลม, ความลึกของน้ำตื้น และ ระยะ Fetch |
5.2 |
โดยปกติแล้ว สิ่งแรกในการคำนวณเราต้องทราบเงื่อนไขของ คลื่นและลมก่อน เช่น เมื่อ 12 ชั่วโมงที่แล้ว ในการคำนวณคลื่น จะใช้การวิเคราะห์แผนภูมิลม ณ เวลาปัจจุบัน ส่วนในกรณีเมื่อมีการเปลี่ยนแปลงลมอย่างกระทันหัน เราจะวิเคราะห์เวลาให้อยู่ระหว่างกลางของเวลาทั้งหมด นั่นคือเวลาที่ 6 ชั่วโมงที่แล้ว และการพยากรณ์ลมในพื้นที่ที่ก่อกำเนิด และ การพยากรณ์การเคลื่อนที่ของพื้นที่ที่ก่อกำเนิดมีความจำเป็นในการทราบค่าของการพยากรณ์คลื่นในอีก 24 ถึง 36 ชั่วโมงข้างหน้าด้วย
2. เงื่อนไขบางประการที่ใช้กับขั้นตอนการปฏิบัติ
มีอยู่สามกระบวนการหลักๆที่จะกล่าวถึงอย่างย่อๆในส่วนนี้ คือ
ซึ่งทั้งสามกระบวนการนี้จะมีประโยชน์เมื่อเราต้องการเวลาในการพยากรณ์น้อยๆ
2.1 ความเร็วลมเพิ่มขึ้นในทิศทางลมคงที่
นี่เป็นเหตุการณ์ที่พบเห็นได้บ่อย และขั้นตอนของการคำนวณจะแสดงในส่วนที่ 3.4 สำหรับการคำนวณที่รวดเร็วนั้น เราจะหักค่าความเร็วลมใหม่ออก 1 ใน 4 ส่วนของการเพิ่มขึ้นของความเร็วลม และนำค่าความเร็วลมที่ได้นั้นมาใช้คำนวณต่อไป เช่น ถ้าความเร็วลมเพิ่มขึ้นจาก 10 เมตรต่อวินาที เป็น 20 เมตรต่อวินาที ในเวลา 12 ชั่วโมง การคำนวณหาค่า
เราจะใช้ความเร็วลมที่ 17.5 เมตรต่อวินาที ภายใต้ระยะเวลา 12 ชั่วโมง สำหรับการเพิ่มขึ้นของความเร็วลมอย่างรวดเร็วนั้น เราแนะนำว่าให้แบ่งระยะเวลาของการคำนวณออกเป็น 2 ช่วง
2.2 ทิศทางลมเปลี่ยนไป
ถ้าทิศทางของลมเปลี่ยนไป 30 องศาหรือน้อยกว่านั้นความสูงคลื่น และ Period จะถูกคำนวณเหมือนไม่มีการเปลี่ยนแลงด้านทิศทาง ส่วนวิธีการคำนวณคลื่นเมื่อมีการเปลี่ยนแปลงของทิศทางลมมากๆนั้น คลื่นในทิศทางเก่ายังคงอยู่ แต่เราจะนำมาคำนวณในรูปของ Swell wave และ คลื่นใหม่ที่ได้จะถูกคำนวณกับทิศทางลมใหม่
2.3 การอ่อนตัวของกำลังลม
เมื่อไรก็ตามที่ความเร็วลมลดลงต่ำมากจนกระทั่งไม่สามารถทำให้ความสูงคลื่นนั้นคงอยู่ได้ คลื่นจะเปลี่ยนกลายไปเป็น Swell wave สำหรับการประมาณในช่วงแรกๆ ความสูงของ Swell wave ควรที่จะลดลง 25% ต่อ 12 ชั่วโมงในทิศทางของการเคลื่อนที่ เช่น ถ้า Swell wave มีความสูง 4 เมตร จะลดลงเหลือ 3 เมตร ใน 12 ชั่วโมง
3. การคำนวณ Wind-wave
3.1 การหาค่าสภาวะทางทะเลเมื่อทราบค่าความเร็วลม และ ระยะ Fetch
ปัญหา: จงหาค่าสภาวะทางทะเล สำหรับความเร็วลมที่ 15 เมตรต่อวินาที กับ ระยะ Fetch ที่ 600 กม หลังจากใช้เวลาไป 36 ชั่วโมง
คำตอบ: ตามแผนผังที่ได้จากกราฟ ในรูปที่ 1 จะเห็นว่า ระยะ Fetch เป็น Limited factor สำหรับระยะ Fetch ที่ 600 กม. จะได้
เมตร และ
วินาที
ส่วนในลักษณะอื่นๆสามารถหาค่าได้จาก JONSWAP spectrum ซึ่งเราสามารถหาค่าของ Peak frequency และ Period, และ จากค่านี้นำมาหา ช่วงความสำคัญของ Wave period และ Significant wave period ![]()
สำหรับค่าของ Peak frequency
หาได้โดย
![]()
ซึ่ง
คือ แบบจำลองของความสูงคลื่นในหน่วย เมตร
คือ ความเร็วลมในหน่วย เมตรต่อวินาที
และ Peak period มีค่า
![]()
ให้
เมตร และ
เมตรต่อวินาที แล้ว
Hz
และ
วินาที
การกำหนดค่าของ
เราจะใช้ ผลลัพธ์ของ Goda ในการประมาณค่า นั่นคือ
![]()
สำหรับปัญหานี้ ได้
วินาที

รูปที่ 2 รูปแบบทั่วไปของสเปกตรัม JONSWAP ในฟังก์ชันของ ![]()
สำหรับช่วงความสำคัญของ Wave period สามารถกำหนดได้จาก รูปที่ 2 ซึ่ง f มีค่าอยู่ที่ประมาณ
ถึง
ซึ่งค่านี้สามารถแปลงเป็นช่วงความสำคัญของ Wave period ได้เป็น
ถึง
วินาที
สำหรับการบันทึกค่าของความสูงคลื่นที่ประมาณ 2000 ค่าคลื่น เราสามารถใช้ข้อมูลนี้หาค่าความสูงคลื่นสูงสุดได้เป็น
เมตร
ในตาราง 2 แสดงผลลัพธ์ทั้งหมด
ตาราง 2 ลักษณะตัวแปรต่างๆของ Wind-wave
|
|
|
|
|
|
|
ช่วงของ Period |
|
5 |
9 |
0.097 |
10.3 |
9.3 |
10 |
5 - 15 |
3.2 การกำหนดสภาวะทางทะเลเมื่อความเร็วลมมีค่าเพิ่มขึ้น
ปัญหา: เครื่องบินตกอยู่กลางทะเลที่ตำแหน่งห่างจากฝั่งเป็นระยะทาง 200 กม. และ มีเรือที่ใกล้ที่สุดอยู่ที่ตำแหน่งห่างจากฝั่งเป็นระยะทาง 600 กม. มีความเร็วลมเมื่อ 24 ชั่วโมง คงที่ที่ 17 เมตรต่อวินาที ขณะที่ก่อนหน้านั้นอีก 24 ชั่วโมง ได้มีการเพิ่มขึ้นของความเร็วลมทีละน้อยจาก 13 ไปถึง 17 เมตรต่อวินาที โดยที่ทิศทางลมยังคงคงที่ไปตลอดในแต่ละช่วงเวลา และทำมุม 30 องศา จากชายฝั่งถึงทะเล

รูปที่ 3 แสดงตัวอย่างสถานการณ์
จงพยากรณ์สภาวะทางทะเลของ
คำตอบ: ระยะ Fetch ของเครื่องบินที่ตก คือ
กม.
และ สำหรับตำแหน่งของเรือ คือ
กม.
ตัวอย่างนี้มีเงื่อนไขของระยะเวลาของลมซับซ้อนมาก ระหว่างช่วงเวลาแรกที่ 24 ชั่วโมง ความเร็วลมเพิ่มจาก 13 เป็น 17 เมตรต่อวินาที จากในส่วนที่ 2.1 เราจะแบ่งช่วงเวลา 24 ชั่วโมง ออกเป็น 2 ช่วงช่วงละ12 ชั่วโมง ซึ่งความเร็วลมจะเพิ่มขึ้นจาก 13 เป็น 15 เมตรต่อวินาที ในช่วงแรก และ จาก 15 เป็น 17 เมตรต่อวินาที ในช่วงหลัง และ 1 ใน 4 ของการเพิ่มขึ้นในแต่ละช่วงเวลาทีค่า 0.5 เมตรต่อวินาที นำมาหักกับ ความเร็วลมที่ 15 เมตรต่อวินาที และ 17 เมตรต่อวินาที จะได้ความเร็วลมที่ 14.5 เมตรต่อวินาที และ 16.5 เมตรต่อวินาที ตามลำดับ
ใช้แผนผังในกราฟรูปที่ 1 แสดงว่า สำหรับความเร็วลมที่ 14.5 เมตรต่อวินาที ความสูงคลื่นจะสูงถึง 3.7 เมตร หลังจาก 12 ชั่วโมง ที่ความสูงเดียวกันจะได้มาหลังจาก 8 ชั่วโมง ที่ความเร็วลม 16.5 เมตรต่อวินาที ดังนั้นแทนที่เราจะใช้ความเร็วลมที่ 14.5 เมตรต่อวินาทีในช่วงแรก เราจะใช้ความเร็วลมที่ 16.5 เมตรต่อวินาทีแทน แต่จะใช้ระยะเวลาเท่ากับ 8 ชั่วโมง นำทั้งสองช่วงเวลามารวมกันจะได้เป็น 8+12 = 20 ชั่วโมง จากแผนผังแสดงว่า สำหรับระยะเวลาที่ 20 ชั่วโมง และ ความเร็วลมที่ 16.5 เมตรต่อวินาที จะได้ความสูงคลื่นเป็น5.3 เมตร
ในการเริ่มต้นของเวลา 24 ชั่วโมงของ ช่วงหลัง ที่ความสูงคลื่น 5.3 เมตร และ ความเร็วลมที่ 17 เมตรต่อวินาที และ ยังคงคงที่ตลอดช่วงเวลานั้น ในการคำนวณความเร็วลมที่ 17 เมตรต่อวินาที เรากำหนดให้ระยะเวลามีค่าเท่ากันที่ความสูง 5.3 เมตร ได้ค่าเท่ากับ 16 ชั่วโมง ดังนั้นที่ระยะเวลาเท่ากันสำหรับความเร็วลมที่ 17 เมตรต่อวินาที เป็น 16+24 = 40 ชั่วโมง สำหรับเงื่อนไขนี้เราได้ค่า
เมตร และ
วินาที
สำหรับเงื่อนไขเหล่านี้ ต้องการ ระยะ Fetch ต่ำสุดเป็น 1050 กม. ดังนั้นที่ตำแหน่งของเรือใกล้ที่สุด จะถือว่าไม่มี ระยะ Fetch แต่ที่ตำแหน่งของเครื่องบินตกนั้นจะถือว่ามี จากกราฟ 4.1 เห็นได้ว่าสำหรับระยะ Fetch ที่ 400 กม. และ ความเร็วลมที่ 17 เมตรต่อวินาที จะได้ค่า
เมตร และ
วินาที
ตาราง 3ค่าของตัวแปรต่างๆของคลื่นที่ตำแหน่งของ เครื่องบินตก และ เรือ
|
|
|
|
|
|
|
|
ช่วงของ Period |
|
|
เครื่องบิน |
5.6 |
9 |
17 |
0.093 |
10.8 |
9.7 |
11.2 |
5 - 15 |
|
เรือ |
6.5 |
10 |
17 |
0.085 |
11.8 |
10.6 |
13.0 |
6 - 17 |
3.3 การประมาณการคงอยู่ของ Wave field ซึ่งมีการเติบโตจากความเร็วลมที่คง
ตัวอย่าง: ภาพ 4.5 แสดง Wave field ที่เวลา
จงพยากรณ์สภาวะทางทะเลที่ จุด B ณ เวลา
ชั่วโมงโดยที่มีลมพัดมาทางตะวันตกของจุด B ด้วยความเร็วลมคงที่ที่ 17.5 เมตรต่อวินาที
คำตอบ: สำหรับการคำนวณ เราไม่สามารถใช้จุดเริ่มต้นที่จุด B ได้ เพราะว่าคลื่นที่จุดนี้เคลื่อนที่ออกไปจากจุด เราจึงต้องหาจุดเริ่มต้นของลมที่จุด ซึ่งคลื่นได้เคลื่อนที่จากเวลา
มาถึงจุด B ที่เวลา
ชั่วโมง
เราจะคาดคะเนว่า ลมที่จุด A มีระยะห่างจากจุด B มีค่าเท่าไร เราเลือกจุดที่มีความสูงคลื่น 4 เมตร เป็นจุด A จากกราฟในรูปที่ 4.1 เราจะเห็นว่าคลื่นที่
เมตร และ
เมตรต่อวินาที มีค่า
วินาที หลังจากนั้น 12 ชั่วโมง
เพิ่มขึ้นมีค่าประมาณ 9 วินาที ดังนั้นได้ค่า Period เฉลี่ยมีค่าประนาณ 8 วินาที และ จากสูตรอัตราการเคลื่อนที่ของคลื่น (Wave propagation)
และ Group velocity มีค่า
ในน้ำลึก เนื่องจาก
เมตรต่อวินาที แล้ว Group velocity จะทีค่าประมาณ
เมตรต่อวินาที เพราะฉะนั้นคลื่นที่
วินาที จะมี
เมตรต่อวินาที นั่นคือในเวลา 12 ชั่วโมง จะครอบคลุมเป็นระยะทางประมาณ 270 กม. หรือ 2.4 องศา ของเส้นรุ้ง หาร 2.4 โดย
จะได้ 0.3 จากตัวอย่างนี้แสดงว่า การเคลื่อนที่เป็นเวลา 12 ชั่วโมง จะถูกแสดงในมุมของเส้นรุ้งได้เป็น
นี่คือสูตรอย่างง่ายสูตรหนึ่งในการหาระยะห่างเมื่อเรากำหนดลมที่จุด A
สมมติให้
เมตร ที่เวลา
ณ จุด A ในการกำเนิดคลื่นที่ความสูงนั้น ความเร็วลมที่ 17.5 เมตรต่อวินาที จะต้องใช้ระยะเวลาเท่ากับ 8 ชั่วโมง เพราะฉะนั้น
ที่จุด B ณ เวลา
ชั่วโมง สามารถหาค่าโดยนำระยะเวลามารวมกันได้ 8+12 = 20 ชั่วโมง และจากกราฟในรูปที่ 1 จะได้
เมตร และ
วินาที ตาราง 4 จะให้ค่าข้อมูลเพิ่มเติม
ตาราง 4ข้อมูลคลื่นเพิ่มเติมสำหรับปัญหา 3.3
|
|
|
|
|
|
|
|
ช่วงของ Period |
|
|
จุด B |
6 |
9.3 |
17.5 |
12 |
0.09 |
11.2 |
10 |
6 - 16 |

รูปที่ 4 พื้นที่คลื่นที่เวลา
แสดงโดยเส้นของความสูงคลื่นเท่า
3.4 การประมาณการคงอยู่ของ Wave field ซึ่งมีการเติบโตจากความเร็วลมที่เพิ่มขึ้น
ปัญหา: สถานการณ์ ที่เวลา
เหมือนในรูปที่ 4 แต่ค่าความเร็วลม เพิ่มจาก 17.5 เมตรต่อวินาที ที่เวลา
เป็น 27.5 เมตรต่อวินาที ที่เวลา
ชั่วโมง เหนือบริเวณพื้นที่ ซึ่งรวมทั้งระยะทาง AB
คำตอบ: เพราะว่า ความเร็วลมเพิ่มขึ้นอย่างรวดเร็ว เราจะแบ่งช่วงของเวลาออกเป็น 2 ช่วง ช่วงละ 6 ชั่วโมง โดยที่ ความเร็วลมเพิ่มจาก 17.5 เมตรต่อวินาที ที่เวลา
เป็น 22.5 เมตรต่อวินาที และ 22.5 เมตรต่อวินาทีเป็น 27.5 เมตรต่อวินาที ตามลำดับ จากในส่วนที่ 2.1 ความเร็วลมที่จะใช้ในการคำนวณคลื่นเป็น 21 เมตรต่อวินาที และ 26 เมตรต่อวินาที
ที่เวลา
เมตร การเติบโตของคลื่นที่ความสูงคลื่นนี้ กับ ความเร็วลมที่ 21 เมตรต่อวินาที หลังจากใช้เวลาเวลา 5 ชั่วโมง สำหรับในช่วงแรก ระยะเวลารวมที่
เมตรต่อวินาที เท่ากับ 5+6 = 11 ชั่วโมง ที่เวลาสุดท้ายของช่วง เราจะได้
เมตร
คลื่นจะสูงที่ความสูงนี้ หลังจากใช้เวลาเท่ากับ 5.5 ชั่วโมง ที่ความเร็วลม 26 เมตรต่อวินาที แล้วช่วงหลังอีก 6 ชั่วโมง เราจะคำนวณค่าของระยะเวลารวมที่ 6+5.5 = 11.5 ชั่วโมง และ ความเร็วลมที่ 26 เมตรต่อวินาที ดังนั้น เราจะได้
เมตร และ
วินาที
ตาราง 4.5 ค่าของตัวแปรต่างๆที่ถูกคำนวณจาก
สำหรับปัญหา 3.4
|
|
|
|
|
|
|
|
ช่วงของ Period |
|
|
จุด B |
9.2 |
10.6 |
27.5 |
18.4 |
0.076 |
13.2 |
11.9 |
7 - 19 |
4. การคำนวณคลื่นใต้น้ำ (Swell wave)
ส่วนมากในการประยุกต์การคำนวณ จะมีสถานการณ์ ที่ต่างกันสองลักษณะ
ในการคำนวณของ Swell wave เราสนใจในการเคลื่อนที่ของพลังงานคลื่น ดังนั้น Group velocity ของส่วนประกอบของคลื่นแต่ละคลื่น ซึ่งแสดงในรูปของ Sinusoidal wave จะนำมาพิจารณา เนื่องจากระยะทางที่กว้างมากๆมักจะมีปัญหาในการคำนวณ ดังนั้นเพื่อความสะดวกเราจะให้การวัดระยะทางมีหน่วยเป็นไมล์ทะเล (Nautical miles; nm) และ หน่วยของ Group velocity เป็น Knot (Kt) โดยมี Wave period มีหน่วยเป็น วินาที ตามปกติ ดังนั้นจาก Group velocity เราจะได้
Kt
4.1 ระยะทางของพายุอยู่ไกลมากๆ
ในกรณีที่ระยะทางของพายุอยู่ไกลมากๆ (รูปที่ 5) คำถามที่จะต้องถูกนำมาตอบในการพยากรณ์ Swell wave คือ
ในการตอนแรกเราต้องทราบค่าของ
-
ระยะทางจากขอบของพายุถึงจุดสังเกต P (nm)
-
ระยะเวลาของการเกิดคลื่นในทิศทางที่จุด P
-
ค่าของ Wave period ที่มีค่ามากที่สุด ในพื้นที่ของพายุ

รูปที่ 5 คลื่นใต้น้ำจากระยะที่เกิดพายุ การเดินทางของคลื่นในทิศทางของระยะเวลาของการเกิดคลื่นในทิศทางที่จุด P
ส่วนประกอบของคลื่น ซึ่งมีค่า Period มากที่สุดจะมาถึงที่จุด P ก่อน เพราะว่ามันเคลื่อนที่ได้เร็วกว่าส่วนประกอยของคลื่นอื่นๆ โดยใช้เวลาในการเคลื่อนที่
ชั่วโมง
ส่วนประกอบคลื่นเหล่านี้จะเคลื่อนที่ต่อไปอีกเป็นเวลา
ชั่วโมง คลื่นถึงจะเคลื่อนที่ผ่านไป ซึ่งค่าของ
จะถูกกำหนดมาจากแผนภูมิอากาศโดยการทดสอบว่า ระยะ Fetch ที่ให้มายังคงอยู่ในบริเวณที่เราศึกษาได้นานเท่าไร ในระหว่างที่ส่วนประกอบของคลื่นที่มาถึงก่อนจะเคลื่อนที่ผ่านไปนั้น ส่วนประกอบของคลื่นที่ช้ากว่าจะมาถึง และส่วนประกอบของคลื่นแต่ละคลื่นจะถูกสมมุติ ในตัวอย่างนี้ ช่วงท้ายสำหรับเวลา
ชั่วโมง จะมีส่วนประกอบคลื่น ซึ่งช้ากว่าจะเริ่มมาถึง ขณะที่ส่วนประกอบของคลื่นที่เร็วกว่าจะเริ่มหายไป (เปรียบเทียบช่องที่ 1 และ 2 จากรูปที่ 5) โดยให้
สำหรับส่วนประกอบคลื่นที่ช้ากว่าจะได้
วินาที
และ สำหรับส่วนประกอบคลื่นที่เร็วกว่า
![]()
หรือ
วินาที
(
ใช้การวัดในหน่วย nm ส่วน t และ
ในหน่วยของ ชั่วโมง)
และ
เป็นขอบเขตของ Wave period ที่เป็นไปได้ ณ จุด P ที่เวลาต่างๆของการสังเกต สำหรับบางค่าของ Period ในช่วงเหล่านี้อาจจะไม่ตรงกับการแสดงในรูปของการสังเกตด้วย Wave spectrum เนื่องจากในความเป็นจริงแล้ว ส่วนประกอบของคลื่นเหล่านี้น่าจะสลายไปขณะที่เคลื่อนที่ออกจากบริเวณของพายุในระยะทางไกลๆแล้ว เราสามารถแสดงสมการของช่วงของความน่าจะเป็นของความถี่คลื่นอย่างง่ายๆ เป็น
![]()
จากสมการนี้หมายความว่า ช่วงของความถี่ของส่วนประกอบคลื่นจะมีค่าเสมอที่จุดของการสังเกต และเป็นค่าคงที่สำหรับที่จุดนั้น ซึ่งขึ้นอยู่กับระยะเวลาของการเกิดคลื่น
ช่วงของความถี่นี้จะแคบลงเรื่อยๆ เมื่อระยะทางจากพายุมีค่ามากขึ้น ซึ่งผลลัพธ์นี้เป็นค่าที่สังเกตได้จริง (จาก Schematic model) นั่นหมายความว่า Swell wave จะมีความปกติมากขึ้นที่ระยะทางไกลๆ เป็นผลลัพธ์ของ Wave dispersion
ตัวอย่างการคำนวณของ Swell wave จากระยะทางของพายุที่อยู่ไกล
ปัญหา: คลื่นเกิดมาจากพายุเคลื่อนที่ในทิศทาง R มี ระยะเวลา 18 ชั่วโมง มีค่าของ Wave period ที่มากที่สุดเป็น 15 วินาที พยากรณ์ Swell wave ที่จุด A ซึ่งอยู่ห่างจากพายุเป็นระยะ 600 nm และ ที่จุด B อยู่ห่างเป็นระยะ 1000 nm จงคำนวณว่า เมื่อไรที่คลื่นแรกจะมาถึงที่จุดสังเกต และ ค่าของ Period ที่เป็นไปได้ในแต่ละช่วง อีก 36 ชั่วโมงข้างหน้ามีค่าเท่าไร
คำตอบ: ที่จุด A
;
ชั่วโมง;
วินาที
หลังจากเกิดพายุคลื่นแรกจะมาถึงที่จุดสังเกตใช้เวลา
ชั่วโมง
คลื่นเหล่านี้ก็จะเคลื่อนที่ต่อไปอีกเป็นระยะเวลา 18 ชั่วโมง หลังจากมาถึงที่จุดสังเกต
ช่วงของ Period
ที่จุด A คำนวณไปอีก 36 ชั่วโมงต่อมาโดยแบ่งเป็นช่วงๆช่วงละ 6 ชั่วโมง โดยเริ่มต้นที่เวลา 30 ชั่วโมงหลังจากเกิดพายุ ได้ผลลัพธ์แสดงในตาราง 6 ช่วงของความยาวคลื่นสามารถหาค่าโดยการใช้ความสัมพันธ์
![]()
ส่วนประกอบคลื่นที่มี Period เป็น 15 วินาทีจะหายไปหลังจากเวลาผ่านไป
ชั่วโมง
ตาราง 6 ช่วงของ Period และ Wavelength ของ Swell wave ที่จุด A สำหรับเวลาต่างๆหลังจากเกิดพายุ
|
เวลาหลังจากเกิดพายุ |
Period |
Wavelength |
|
30 |
15.0 - 13.2 |
351 272 |
|
36 |
15.0 - 11.0 |
351 189 |
|
42 |
15.0 - 9.4 |
351 138 |
|
48 |
13.2 - 8.2 |
272 105 |
|
54 |
11.0 - 7.3 |
189 83 |
|
60 |
9.4 - 6.6 |
138 68 |
|
66 |
8.2 - 6.0 |
105 56 |
สำหรับจุด B
;
ชั่วโมง;
วินาที
หลังจากเกิดพายุคลื่นแรกจะมาถึงที่จุดสังเกตใช้เวลา
ชั่วโมง
ตาราง 7 แสดงข้อมูลเดียวกับ ตาราง 4.6 แต่สำหรับจุด B จะเริ่มต้นที่เวลา 48 ชั่วโมง และจบที่เวลา 84 ชั่วโมง
ส่วนประกอบคลื่นที่ Period เป็น 15 วินาทีจะหายไปหลังจากเวลาผ่านไป
ชั่วโมง
ตาราง 7 ช่วงของ Period และ Wavelength ของ Swell wave ที่จุด B สำหรับเวลาต่างๆหลังจากเกิดพายุ
|
เวลาหลังจากเกิดพายุ |
Period |
Wavelength |
|
48 |
15.0 - 13.8 |
351 297 |
|
54 |
15.0 - 12.2 |
351 232 |
|
60 |
15.0 - 11.0 |
351 184 |
|
66 |
13.8 - 10.0 |
297 156 |
|
72 |
12.2 - 9.2 |
232 132 |
|
78 |
11.0 - 8.5 |
189 113 |
|
84 |
10.0 - 7.9 |
156 97 |
การพยากรณ์ที่ใช้เวลานานๆสำหรับทั้งสองจุดแสดงการเปลี่ยนแปลงที่ลดลงทีละน้อยของ Wave period ในตัวอย่างคลื่นที่สั้นไม่จำเป็นต้องสนใจหลังจาก สองถึงสามวันผ่านไป และหลังจากนำค่าของพายุมาคำนวณในกรณีของพายุโซนร้อนด้ พายุจะไม่เกิด อย่างไรก็ตาม การกำเนิด Swell wave ในทุกทิศทาง ขึ้นอยู่กับโครงสร้างของ Wind field ใน พายุ
4.2 ระยะทางของพายุกับความยาวของระยะ Fetch ที่ยาวมากๆ
นี่เป็นกรณีที่ยุ่งยากมาก เนื่องจากระยะทางของการเคลื่อนที่โดยส่วนประกอบคลื่นภายในพื้นที่การกำเนิดคลื่นจะไม่ปกติเหมือนกับในหลายๆส่วนประกอบคลื่น คลื่นที่ยาวกว่าและใหญ่กว่าจะถูกพบในส่วนหลังของลมของบริเวณที่เกิดพายุ
สำหรับวิธีในการคำนวณทั้งหมดนั้น อย่างแรกเราจะเลือกหาค่าเฉลี่ยสำหรับระยะทาง S ที่เหมาะสม (รูปที่ 6) และ ประยุกต์กับระยะเวลา
ที่ถูกต้อง โดยการเพิ่ม
กับระยะเวลาที่เกิดจากส่วนประกอบคลื่นที่ครอบคลุมระยะทาง S นั่นคือ
![]()
ซึ่ง
คือ Group velocity ของส่วนประกอบคลื่นที่ถูกพิจารณา เราสามารถแสดงได้ว่า ในกรณีนี้ช่วงของความถี่คลื่นของ Swell wave ไม่คงที่ที่จุด P แต่ส่วนประกอบคลื่นที่ใหญ่กว่าจะเคลื่อนที่ผ่านไป โดยใช้เวลาเพิ่มขึ้นเล็กน้อย และ Spectrum จะประกอบด้วย ส่วนประกอบคลื่นที่เล็กกว่าอย่างมีขั้นตอน
ตัวอย่างการคำนวณ Swell wave จากระยะทางของพายุกับความยาวของระยะ Fetch ที่ยาวมากๆ
ปัญหา: คลื่นก่อกำเนิดทิศทาง R มีค่าเฉลี่ยของการเกิดระยะ Fetch, S เป็น 180 nm สำหรับคลื่นที่มี Period ระหว่าง 12 วินาที กับ 15 วินาที และมี
และ
ชั่วโมง
คำตอบ: ระยะเวลาที่ถูกต้อง สำหรับคลื่นที่มี T = 15 วินาที คือ
ชั่วโมง
หลังจากเกิดพายุ ส่วนประกอบคลื่นนี้จะมาถึงที่จุด P ใช้เวลา
ชั่วโมง
แต่อีก 26 ชั่วโมงต่อมาคลื่นนี้จะเคลื่อนที่ผ่านไป ดังนั้นคลื่นที่สุดท้ายที่ T = 15 วินาที จะผ่านจุด P ที่เวลา t = 26+26.4 = 52.4 ชั่วโมง
เช่นเดียวกับระยะเวลาที่ถูกต้องสำหรับการเกิดของคลื่นที่ T = 12 วินาที จะได้
ชั่วโมง
เวลาสำหรับการเคลื่อนที่สำหรับส่วนประกอยนี้จะมาถึงที่จุด P ใช้เวลา
ชั่วโมง
ดังนั้นคลื่นที่สุดท้ายที่ T = 12 วินาที จะผ่านจุด P ที่เวลา t = 33+27.9 = 60.9 ชั่วโมง
ช่วงของ Period และ Wavelength แสดงในตาราง 8 ข้างล่าง
ตาราง 8 ช่วงของ Period และ Wavelength ของ Swell wave ที่จุด P สำหรับเวลาต่างๆหลังจากเกิดพายุ
|
เวลาหลังจากเกิดพายุ |
Period |
Wavelength |
|
30 |
15.0 - 13.2 |
351 272 |
|
36 |
15.0 - 11.0 |
351 189 |
|
42 |
15.0 - 9.4 |
351 138 |
|
48 |
15.0 - 8.2 |
351 105 |
|
54 |
14.1 - 7.6 |
310 83 |
|
60 |
12.0 - 6.6 |
225 68 |
|
66 |
10.4 - 6.0 |
169 56 |
เปรียบเทียบระหว่างตัวอย่างใน ส่วนที่ 4.1 กับ ส่วนที่ 4.2 แสดงว่าในส่วนหลัง Wave spectrum ค่อนข้างแบนและยาวกว่า เนื่องจากช่วงกว้างของ Energetic period นั่นคือ Swell wave จะมีลักษณะที่เป็นปกติน้อย

รูปที่ 6 คลื่นใต้น้ำจากกึ่งเคลื่อนที่ ระยะทางพายุ ซึ่งการเดินทางคลื่นเหนือระยะทางจากขอบของพายุถึงจุดสังเกต P และพื้นที่เกิดคลื่นมีระยะลมพัดแน่ทิศยาว
4.3 Swell wave เกิดจากพายุที่อยู่ใกล้ เคลื่อนที่มาที่จุดของการสังเกต
จากที่แสดงในบทนำของส่วนที่ 4 แล้วว่า Swell wave ซึ่งกระจายออกมาจากหลายๆจุดที่ต่างกันของขอบพายุที่อยู่ใกล้ (น้อยกว่า 600 nm) จะมาถึงที่จุดสังเกต นอกจากผลกระทบของ Wave dispersion แล้ว ผลกระทบของ Angular spreading ควรจะนำมาพิจารณาด้วย
สำหรับการคะเนของ Swell wave ต้องทราบค่าของ

รูปที่ 7 ปัจจัยการกระจายของมุมสำหรับพลังงานคลื่นใต้น้ำ
Angular spreading สามารถคำนวณโดยการใช้ความกว้างของ Fetch area และ ระยะทางจาก Fetch area ถึงจุดของการพยากรณ์ ในรูปที่ 7 เนื่องจากปัจจัยนี้เป็นค่าเปอร์เซ็นต์ของพลังงานดังนั้นเมื่อประยุกต์กับความสูงคลื่น รากที่ 2 ต้องนำมาใช้ในการคำนวณ ![]()
จากผลลัพธ์ของ JONSWAP แสดงความสัมพันธ์ระหว่างความแปรปรวนของพื้นผิวทะเล (พลังงานคลื่น) กับ Peak frequency สำหรับช่วงกว้างของสถาวะการเติบโต การแปลงผลลัพธ์ของ JONSWAP ในเทอมของ
และ
จะได้
----------------------------------------(9)

รูปที่ 8 อิทธิพลของดีสเพอร์ชันบนระยะลมพัดแน่ทิศของคลื่น สเปกตรัมที่ด้านหน้าระยะลมพัดแน่ทิศถูกแสดงใน (a) และ (b) ส่วนแรกมาถึงจุดที่ห่างออกไปในทิศทางลงแสดงในสเปกตรัม(a) ส่วนความถี่สูงๆจะมาที่หลังโดยเวลาคลื่นที่เร็วที่สุด (ความถี่ต่ำสุด) ผ่านโดยแสดงใน (b)

รูปที่ 9 สภาพอากาศบริเวณแอตแลนติคเหนือที่เวลา 00 UTC
สมการนี้รวมกับ JONSWAP spectrum (รูปที่ 2) และ PNJ สามารถนำมาใช้ในการหา Wave dispersion factor ที่แต่ละระยะเวลาของการพยากรณ์ ณ จุดของการพยากรณ์ รูปที่ 8 (a) และ (b) เป็นตัวอย่างแสดงว่า Wave spectrum กระจายไปในลักษณะไหนกับเวลา ภาพประกอบนี้จะแสดงในตัวอย่างต่อไป
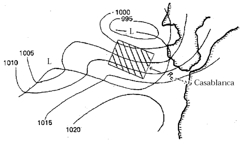
คำถาม: รูปที่ 9 แสดงภาพของพายุซึ่งให้กำเนิดคลื่นที่เราต้องการพยากรณ์ที่เมือง Casablanca จากแผนภาพอากาศก่อนหน้านี้แสดงเมื่อเวลา 24 ชั่วโมงที่แล้ว พายุกำลังเคลื่อนที่มาทางทิศตะวันออก มันเคลื่อนที่ไปอย่างช้าๆ แต่มีความเร็วเพียงพอที่จะป้องกันคลื่นต่างๆจากไม่ให้เคลื่อนที่ออกจากระยะ Fetch ที่แผนภาพนี้พายุเริ่มอ่อนกำลังลง และพายุอีกลูกหนึ่งกำหลังจะเริ่มก่อตัว การพยากรณ์ชี้ว่า พายุลูกที่สองจะมีความรุนแรง ลมใน Fetch area จะเปลี่ยนกลายเป็นลมจากทิศใต้ และยังถูกคาดการณ์ด้วยว่าพายุจะเคลื่อนที่ต่อไป แต่ลมทางตะวันตกที่มีความรุนแรงน้อยจะมีความรุนแรงน้อยลง ที่แผนภาพนี้สภาวะลมที่สมบูรณ์ยังคงอยู่ใน Fetch area จะไม่ยาวกว่ามี่ถูกสนับสนุนโดยกำลังลม
Fetch area (พื้นที่ที่ระบายในรูปที่ 9) ยาว 480 nm และ กว้าง 300 nm ที่แผนภาพนี้ ลมอยู่ในพื้นเป็น WNW ระยะทางจากขอบพายุถึงเมือง Casablanca
คือ 600 nm จงกำหนดลักษณะทั้งหมดของ Swell wave ที่เมือง Casablanca
คำตอบ: ระหว่างที่เวลา 24 ชั่วโมงที่แล้ว ความเร็วลมเฉลี่ย U = 15 เมตรต่อวินาที ใน Fetch area สำหรับความเร็วลมนั้น จะได้
เมตร และ
วินาที โดยที่
Hz
วินาที
ช่วงความสำคัญของ Wave period มีค่าระหว่าง 5.0 ถึง 14.4 วินาที
และ ![]()
หลังจากแผนภาพนี้ คลื่นแรกที่ Period เป็น 14.4 วินาที จะมาถึงที่ชายฝั่งก่อนโดยใช้เวลา
ชั่วโมง
เหมือนกัน คลื่นที่ Period เท่ากับ 14.4 วินาทีจะสิ้นสุดการมาถึงที่ชายฝั่งโดยใช้เวลา
ชั่วโมง
เนื่องจากเวลาที่ได้จากก่อตัวของ Fetch area สำหรับส่วนประกอบคลื่นที่ T = 14.4 วินาที มีค่าน้อยกว่า 24 ชั่วโมง การหาค่า
และ
จะถูกนำมาใช้หาค่าช่วงของความถี่ที่แต่ละเวลาของการพยากรณ์ ณ เมือง Casablanca โดยที่ช่วงเหล่านี้ถูกแสดงในตาราง 9
Angular spreading factor ถูกคำนวณจากอัตราส่วนระหว่างระยะทาง
กับความกว้างของ Fetch area, X นั่นคือ 600/300 = 2 สำหรับสถานการณ์นี้ Angular spreading factor เป็น 30% (จากรูปที่ 7) นั่นหมายความว่าค่าของการสังเกตความสูงของ Swell wave ที่ชายฝั่งของเมือง Casablanca ควรจะมีค่าน้อยกว่า
เมตร
Wave dispersion factor ที่เวลาของการพยากรณ์ต่างๆเป็นสวนที่ยากมากสำหรับการพยากรณ์ แบบจำลองของ Spectrum ถูกนำมาช่วยในการพยากรณ์ และ การ Integration ทางคณิตศาสตร์ ของความถี่ของ Spectrum, S(f) จะถูกนำมาคำนวณสำหรับช่วงของความถี่ที่แต่ละระยะเวลาของการพยากรณ์ ในตัวอย่างนี้ ค่าของ
ร่วมกับ JONSWAP spectrum (รูปที่ 2) ถูกใช้ในการหาค่าช่วงความสำคัญของความถี่ ซึ่งสอดคล้องกับ
และ PNJ ใช้ในการหาค่าสัดส่วนของพลังงาน เมื่อให้ค่าช่วงความถี่ (Dispersion factor) มาถึงที่เมือง Casablanca ในแต่ละช่วงเวลา
ในการหาค่าของพลังงาน จะใช้ Distorted co-cumulative spectra สำหรับความเร็วลมที่ 10 ถึง 44 Kt เป็นฟังก์ชันของระยะเวลาจาก PNJ (แสดงใน Annex IV) ความเร็วลมที่ 15 เมตรต่อวินาที หาค่าที่ความถี่ที่มีค่าสูงกว่าและต่ำกว่าตัดกับเส้นโค้งที่ 15 เมตรต่อวินาที และ จะพบค่าของพลังงาน E ที่จุดตัดเหล่านั้น สำหรับ
Hz จะได้ E = 51
Hz จะได้ E = 2.5
มีค่าพลังงาน E ต่างกัน 48.5 การคำนวณ Dispersion factor ที่เวลา 36 ชั่วโมงนั้น พบว่าพลังงาน E สำหรับ Period ที่มาถึง ณ เวลานั้นและหารด้วยพลังงานรวม นั่นคือ (51 - 31.5)/48.5 = 0.402 (เส้นโค้ง PNJ ถูกใช้เพียงหาค่าของสัดส่วนของพลังงานในช่วงความถี่ที่ให้มา และ สำหรับ Significant wave height ควรจะใช้เส้นโค้ง GD จะดีกว่า)
ความสูงคลื่นคำนวณได้จากผลคูณของ รากที่ 2 Dispersion factor (Dispersion multiplier) คูณกับ รากที่ 2 ของ Angular spreading factor (Angular spreading multiplier) คูณกับ
สำหรับที่เวลา 36 ชั่วโมงได้ความสูงคลื่นเป็น
เมตร
ที่เวลา t = 48 ชั่วโมง เป็นส่วนที่มากกว่าของ Wave spectrum ที่แสดง ซึ่ง Period จะถูกเลื่อนเป็นค่าที่ต่ำกว่า (ความถี่คลื่นเป็นค่าที่สูงกว่า) Dispersion factor คือ (51 - 12)/48.5 = 0.804 และ ความสูงคลื่นมีค่าเท่ากับ
เมตร
การคำนวณความสูงคลื่นต่างๆในวิธีนี้แสดงในตาราง 9
ตาราง 9 แสดงการพยากรณ์ของ Swell periods, wavelwngths, และ ตวามสูงคลื่น ที่เมือง Casablanca สำหรับระยะเวลาต่างๆหลังจาก Wave period ที่ยาวที่สุดมาถึง
, Angular spreading multiplier และ Dispersion multiplier แสดงในตารางนี้ด้วย ค่าในวงเล็บใน 2 คอลัมภ์สุดท้ายนั้นเป็นการประมาณโดย Unifrom distribution
|
เวลาหลังจากเกิดพายุ |
Period |
Wavelength |
|
Angular spreading multiplier |
Dispersion multiplier |
ความสูงคลื่นที่ชายฝั่ง |
|
30 |
14.4 - 13.2 |
323 - 272 |
4.8 |
0.55 |
0.35 (0.23) |
0.9 (0.6) |
|
36 |
14.4 - 11.0 |
323 - 189 |
4.8 |
0.55 |
0.63 (0.41) |
1.7 (1.1) |
|
42 |
14.4 - 9.4 |
323 - 138 |
4.8 |
0.55 |
0.75 (0.54) |
2.0 (1.4) |
|
48 |
14.4 - 8.2 |
323 - 105 |
4.8 |
0.55 |
0.90 (0.64) |
2.4 (1.7) |
|
54 |
13.2 - 7.3 |
272 - 83 |
4.8 |
0.55 |
0.84 (0.70) |
2.2 (1.8) |
|
60 |
11.0 - 6.6 |
189 - 68 |
4.8 |
0.55 |
0.73 (0.69) |
1.9 (1.8) |
|
66 |
9.4 - 6.0 |
138 - 56 |
4.8 |
0.55 |
0.62 (0.68) |
1.6 (1.8) |
วิธีลัด: การประมาณค่าแบบหยาบๆของ Dispersion factor สามารถคำนวณได้โดย การสมมุติสัดส่วนของพลังงานง่ายๆ เรากำลังจะหาสิ่งที่เกี่ยวข้องบนสัดส่วนของช่วงความถี่ นั่นคืออัตราส่วนของช่วงความถี่กับ Total significant frequency range สำหรับตัวอย่างนี้ Significant frequency range เป็น (0.199-0.069) = 0.13 Hz สำหรับแถวแรกในตาราง 4.9 ช่วงความถี่ คือ
Hz
ซึ่งนำไปสู่ Dispersion multiplier คือ
![]()
สำหรับผลลัพธ์ต่างๆที่ได้จากวิธีนี้แสดงในวงเล็บของตาราง 9
การประมาณค่าแบบหยาบๆนี้มีความสำคัญมาก เนื่องจากเป็นวิธีที่สมมุติการกระจายของพลังงานเป็นรูปแบบเดียวกับความถี่ ซึ่งเราทราบดีว่าค่าที่ได้จะมีความผิดพลาดอยู่ แต่จากผลลัพธ์ที่ได้ในตาราง 9 แสดงให้เห็นว่าค่าที่ผิดพลาดนั้นเราสามารถยอมรับได้ ถ้าต้องการเวลาในการคำนวณที่รวดเร็ว แม้ว่าผลลัพธ์ที่ได้จะเป็น Significant ค่าสูงสุดของพายุจะถูกการพยากรณ์ให้มีค่าที่ต่ำเกินไปอย่างหลีกเลี่ยงไม่ได้ และการสลายตัวจะค่อยๆลดลงทีละน้อยอีกด้วย ในการใช้การสังเกตเหล่านี้จะได้ผลที่ถูกต้องมากขึ้น ขึ้นอยู่กับประสบการณ์ในการคำนวณ
ในตัวอย่างนี้แสดงลักษณะปกติของการพัฒนาของ Swell wave เป็นฟังก์ชันของเวลา นั่นคือความสูงคลื่นจะเพิ่มขึ้นเป็นปกติในช่วงแรก และ เพราะว่า Spectrum มีค่าที่กว้าง ดังนั้นความสูงคลื่นจะยังคงมีค่าคงที่มีค่ามากหรือน้อย ขึ้นอยู่กับช่วงของเวลา และเนื่องจาก ปัจจัยอื่นๆ เช่น ความเสียดทานภายใน และ ความต้านทานอากาศ ไม่ได้นำมาคิดในการคำนวณ จึงทำให้ Swell wave จะสลายไปภายในเวลาประมาณ 60 ชั่วโมง
4.4 ตัวอย่างเพิ่มเติม
ปัญหา: จงคาดคะเนความสูงของ Swell wave ในกรณีที่แสดงในส่วนที่ 4.1 และ 4.2 โดยใช้ประสบการณ์ที่ได้มาจากส่วนที่ 4.3
คำตอบ: การคาดคะเนความสูงจากส่วนที่ 4.1 เราสมมุติให้ Swell wave เกิดจากพื้นที่เล็กๆของ Fetch area ของลมเฮอร์ริเคน ในพายุโซนร้อน โดยที่มีพฤติกรรมความสูงคลื่น สูงเท่ากับ 12 เมตร ที่ความกว้างของ Fetch area กว้าง 120 nm ระยะทางที่จุด A มีค่า 600 nm หรือ 5 เท่าของความกว้างของ Fetch area จากภาพ 4.8 Angular spreading factor อยู่ที่ 12% โดยประมาณ ดังนั้นลักษณะของความสูง Swell wave ที่มาถึงที่จุด A ควรจะมีความสูงน้อยกว่า
เมตร
เราสามารถหาค่า Dispersion factor ได้จากกราฟของ PNJ เหมือนในตัวอย่างก่อน แต่เราต้องหาค่าผลกระทบของความเร็วลม เนื่องจากเราทราบเพียงค่าของความสูงคลื่นเท่านั้น โดยที่ค่าผลกระทบของความเร็วลมหาได้โดยตามเส้น Period ที่ 15 วินาที บนกราฟของ PNJ ว่าไปตัดกับเส้นของความสูงคลื่นที่ให้ที่ไหน และ เราสามารถหาผลรกะทบของความเร็วลมจากจุดตัดนั้น ในกรณีนี้จะได้ผลกระทบของความเร็วลมเท่ากับ 21.5 เมตรต่อนาที ต่อมาเราจะหาค่าของพลังงาน E และ คำนวณ Dispersion factor เหมือนส่วนที่ 4.3.3 เนื่องจาก Swell spectrum มีช่วงจะกว้างที่สุดที่เวลา 42 ชั่วโมง ดังนั้นความสูงคลื่นจะสูงสุดที่เวลานั้น Dispersion factor มีค่าประมาณ 0.8 เปลี่ยนเป็นค่า Multiplier ได้
เมื่อนำ Angular spreading มาคำนวณด้วย จะได้ Characteristic wave height เป็น
เมตร
ความสูงจะมีค่าน้อยในช่วงแรก เมื่อคลื่นที่ยาวเพียงคลื่นเดียวมาถึงที่จุด A ต่อมาความสูงคลื่นจะสูงที่สุดในช่วง 40 ถึง 50 ชั่วโมง (ตาราง 6) เนื่องจาก Swell spectrum มีช่วงกว้างที่สุดที่ช่วงเวลานั้น
ระยะทางถึงจุด B มีค่าประมาณ 8 เท่าของความกว้างของ Fetch area ซึ่งนำไปสู่ Angular spreading factor มีค่าประมาณ 6% ดังนั้นความสูงของ Swell wave ที่จุด B ไม่ควรจะสูงกว่า
เมตร การพิจารณาถึง Wave dispersion ต้องมีขั้นตอนเพิ่มเติมจากจุด A ถึง จุด B ซึ่งส่วนประกอบของคลื่นเล็กกว่าอาจจะสลายไปในการเคลื่อนที่ในระยะทางไกลๆ ซึ่งเป็นผลมาจากแรงเสียดทานภายใน และ แรงต้านทานอากาศ เราสามารถคำนวณ Wave dispersion factor แต่ละช่วงเวลา ได้จาก PNJ ส่วนที่กว้างที่สุดของ Spectrum ซึ่งความสูงคลื่นที่สูงที่สุด ผ่านจุด B ใช้เวลาประมาณ 60 ชั่วโมง หลังจากเกิดคลื่น Dispersion factor สำหรับเวลานี้มีค่าประมาณ 0.6 ดังนั้น Multiplier เป็น
เพราะฉะนั้นลักษณะความสูงของ Swell wave จะมีค่าประมาณ
เมตร
ในส่วนที่ 4.2 Swell spectrum ที่จุด P มีความซับซ้อนมากกว่า จะมีช่วงของเกิด Wave period อยู่ระหว่าง 12 วินาที ถึง 15 วินาที และมีขอบเขตของระยะ Fetch (180nm) ด้วย ลักษณะของคลื่นที่สูงที่สุดมีความแตกต่างสำหรับแต่ละขอบเขตของคลื่น
การหาค่าขอบเขตของ Wave period เหล่านี้ เราจะใช้ Distorted co-cumulative spectra สำหรับความเร็วลมที่ 10 ถึง 44 Kt เป็นฟังก์ชันของระยะ Fetch จาก PNJ เพื่อสืบหา Characteristic wave height ที่สูงที่สุดสำหรับคลื่นที่มี Period เท่ากับ 15 วินาที เราตามเส้น Period ที่ 15 วินาที ไปตัดกับเส้นของระยะ Fetch ที่ 180 nm ว่าตัดกันที่จุดไหน และอ่านค่าความสูงคลื่นที่จุดนั้นได้เท่ากับ 4.5 เมตร และเรายังสามารถหาค่าผลกระทบของความเร็วลมที่จุดนั้นได้เป็น 13 เมตรต่อวินาที เช่นเดียวกับการหาค่าเหล่านี้ที่ Period เท่ากับ 12 วินาที Characteristic wave height เท่ากับ 4.8 เมตร ผลกระทบของความเร็วลมเท่ากับ 14 เมตรต่อวินาที ส่วนค่าของพลังงาน E (การเคลื่อนที่ของพลังงาน) หาค่าเหมือนวิธีที่เคยทำก่อนหน้านี้
โดยการเปรียบเทียบความสูงคลื่นที่ Period 15 วินาที และ 12 วินาที หลังจาก Dispersion factor ถูกนำมาคำนวณในแต่ละชั่วโมงของการพยากรณ์ เราสามารถแสดงได้ว่าคลื่นที่มาถึง ณ เวลา 60 ชั่วโมง มีลักษณะความสูงสูงที่สุด และจาก Angular spreading factor ที่จุด P มีค่าเป็น 12% นั่นหมายความว่าลักษณะความสูงที่เป็นไปได้สำหรับเงื่อนไขเหล่านี้ มีความสูงประมาณ
เมตร Dispersion factor ที่เวลา 60 ชั่วโมง มีค่าประมาณ 0.82 เป็น Multiplier มีค่าประมาณ
ดังนั้นคลื่นจะมาถึงที่จุด P ณ เวลา 60 ชั่วโมง จะมีลักษณะความสูงคลื่นไม่สูงกว่า
เมตร
5. การคำนวณผลกระทบของน้ำตื้นโดยวิธีตรง
ผลกระทบของน้ำตื้นมีหลายชนิดเช่น การเกยฝั่ง (Shoaling) การหักเห (Refraction) การลู่เข้า (diffraction) Reflection (การสะท้อน) และ อิทธิพลความเสียดทานท้องน้ำ (Bottom effects) ในส่วนนี้ทฤษฎีบางทฤษฎีจะถูกแสดง ซึ่งมีความแตกต่างกันในการปฏิบัติระหว่าง
ส่วนกรณีที่ยากกว่านี้ ซึ่งเป็นการรวมกันของทั้งสองกรณี จะใช้แบบจำลองเชิงตัวเลข มาช่วยในการคำนวณ
ส่วนที่ 5.1 แสดง Shoaling และ Refraction ของ Swell wave ซึ่งความชันมีค่าน้อยเพียงพอในการหลีกเลี่ยงการเกิด Wave breaking หลังจาก Shoaling และ Refraction ในส่วนที่ 5.2 จะแสดงแผนผังสำหรับการคาดคะเนความสูงคลื่นและ Period ในน้ำที่ความลึกคงที่
5.1 Shoaling และ Refraction ของ Swell wave ในพื้นที่ตามชายฝั่งทะเล
ในส่วนนี้ การสลายตัวของคลื่นเนื่องจากการ Dissipation โดย Bottom friction และ Wave breaking จะไม่นำมาคำนวณ Shoaling และ Refraction โดยปกติแล้วจะเกิดขึ้นพร้อมกัน แต่อย่างไรก็ตามเราจะพิจารณาแยกจากกัน
5.1.1 การแปรผันของความสูงคลื่นที่มีผลกระทบจาก Shoaling
การหาค่า Shoaling factor
ซึ่งแสดงถึงการเปลี่ยนแปลงของความสูงคลื่นเนื่องจากการลดลงของความลึก (โดยปราศจาก Refraction) เราจำเป็นต้องพิจารณาถึง กฏพื้นฐานที่ว่าการไหลของพลังงานจะต้องถูกอนุรักษ์ เนื่องจากพลังงานมีความสัมพันธ์กับกำลังสองของความสูงคลื่น และ การเคลื่อนที่ของพลังงานคลื่นจะอยู่ในรูปของ Group velocity การไหลของพลังงานจะมีค่าเท่ากับ
ซึ่งเป็นค่าคงที่ ดังนั้น Shoaling factor ขี้นอยู่กับอัตราส่วนระหว่าง Group velocity ในน้ำลึก
กับ Group velocity
ที่ความลึก h เราจะได้

ซึ่ง
คือ ความเร็วคลื่นในน้ำลึก
คือ ความสูงคลื่นในน้ำลึก
เนื่องจาก Group velocity มีค่าเท่ากับ
, ![]()
Shoaling factor สามารถแสดงได้โดย
![]()
Wave number
ที่ความลึก h เราสามารถประมาณค่าได้เป็น
![]()
![]()

รูปที่ 10 (a) แสดงฟังก์ชันแปรเปลี่ยนของ
(derived from CERC, 1984)

รูปที่ 10 (b) กราฟของปัจจัยการเกยของคลื่น (shoaling)
versus
(derived from CERC, 1984)
กราฟจากรูปที่ 10 (
) แสดงเส้นโค้งต่างๆที่แปลงคุณสมบัติของการเคลื่อนที่ของคลื่นจากน้ำลึกไปสู่น้ำตื้น Shoaling factor
ถูกแสดงในกราฟนี้ด้วย เพื่อความสะดวกสำหรับผู้ใช้ที่สนใจในการหาค่า Shoaling factor
ที่เกี่ยวข้องกับ คลื่นน้ำลึกของการให้ Wave number
เท่านั้น เส้นโค้งของ
กับ
ถูกแสดงใน กราฟรูปที่ 10 (b) ในสเกลที่ใหญ่ขึ้น
ตัวอย่าง:สำหรับน้ำลึกที่มีความลึก 156 เมตร ที่
วินาที แล้ว
ตัวต่อเมตร และที่
วินาที จะมี
ตัวต่อเมตร
ตาราง 10 แสดง Shoaling factor
สำหรับความลึกในน้ำตื้นต่างๆ
ตาราง 10 Wave number k และ Shoaling factor
สำหรับ Period ของคลื่นทั้งสองค่า ที่ความลึก h ต่างๆในหน่วยเมตร โดยใช้สมการ
และ k
|
h |
|
|
||
|
k |
|
k |
|
|
|
100 |
0.040 |
1.00 |
0.018 |
0.94 |
|
50 |
0.041 |
0.95 |
0.021 |
0.92 |
|
25 |
0.046 |
0.91 |
0.028 |
0.98 |
|
15 |
0.055 |
0.94 |
0.035 |
1.06 |
|
10 |
0.065 |
1.00 |
0.043 |
1.15 |
|
5 |
0.090 |
1.12 |
0.060 |
1.33 |
|
2 |
0.142 |
1.36 |
0.095 |
1.64 |
ตารางนี้แสดงว่าความสูงของ Shoaling wave จะลดลงในช่วงแรก แต่สุดท้ายก็จะเพิ่มขี้นในจุดของการ Breaking ซึ่งขึ้นอยู่กับค่าความสูงเริ่มต้นในน้ำลึกด้วย (ดูกราฟรูปที่ 10 a, b ประกอบด้วย)
5.1.2 การแปรผันของความสูงคลื่นที่มีผลกระทบจาก Refraction
ในตัวอย่างที่ผ่านมา ไม่ได้นำผลกระทบของ Refraction ในการคำนวณ ซึ่งแสดงการเคลื่อนที่คลื่นที่ตั้งฉากกับเสัน Contour ที่ขนานกับความลึก ในธรรมชาติเหตุการณ์นี้จะเกิดขึ้นได้น้อย ดังนั้นมุมตกกระทบกับเสัน Contour ของความลึก มักจะมีค่าต่างจาก 90 องศา ซึ่งมีค่าเท่ากับ
และ มุมระหว่างยอดคลื่นกับส้น Isobath มีค่าต่างจาก 0 องศา ซึ่งค่านี้จะนำไปสู่การเปลี่ยนแปลงของความกว้างระหว่างแนวคลื่น จะใช้ กฎของ Snell ในการอธิบายคือ

Refraction factor คือ
![]()
ซึ่ง
คือ มุมระหว่างยอดคลื่นกับเส้น Isobath ในน้ำลึก
กราฟรูปที่ 11 เป็นสมการของ
สำหรับการให้ค่าความลึกและ Wave period ในน้ำตื้น โดยที่ เส้นทึบ แสดงมุมตกกระทบ และ เส้นประ แสดง Refraction factor ซึ่งเราสามารถอ่านค่าได้ง่ายสำหรับการให้ค่ามุมตกกระทบในน้ำลึกมา
กราฟนี้ใช้หาค่าสำหรับเส้น Contour ของความลึกขนานเป็นเส้นตรงเท่านั้น
ปัญหา: ให้มุมระหว่างยอดคลื่นในน้ำลึกกับเส้น Contour ของความลึก
องศา จงหา
และ Refraction ที่ h = 8 เมตร สำหรับ T = 10 วินาที
คำตอบ:
และ จากกราฟรูปที่ 11 เราได้ Refraction factor เป็น 0.905 และ
องศา

รูปที่ 11 การเปลี่ยนแปลงทิศทางและความสูงคลื่น เนื่องจากเส้นความชันชายฝั่ง
เป็นมุมของคลื่นน้ำลึก ถูกวัดระหว่างยอดคลื่นกับแนวความลึกเท่า โค้งที่ต่อเนื่องเป็นเส้นเท่าของคาบกับความลึกน้ำ เพื่อประมาณความเบนเอียงในคลื่นน้ำตื้น เริ่มจาก
ตามเส้นแนวนอนจากขวา (น้ำลึก) ไปทางซ้าย ส่วนเส้นประเป็นเส้นปัจจัยความเบนเอียงเท่า
(derived from CERC, 1977)
5.1.3 ทฤษฎี Dorrestein
เนื่องจากในความเป็นจริงเส้น Contour ของความลึก แทบจะไม่เป็นเส้นตรง เราจะพบลำดับของการเข้าและออกของเส้น Contour เป็นปกติ ในปี ค.ศ. 1960 Dorrectien ได้เสนอทฤษฎีสำหรับการหาค่าของ Refraction โดยวิธีตรงที่ซึ่งเส้น Contour ของความลึกไม่เป็นเส้นตรง ทฤษฎีนี้ต้องการสร้างแนวคลื่นสองถึงสามแนวจากการให้ที่จุด P ในน้ำตื้นไปสู่น้ำลึก รวมถึงทิศทางของคลื่นทั้งหมดต้องนำมาคำนวณตามการให้ทิศทางของการกระจายในน้ำลึก
เราสมมุติว่า ในน้ำลึกการกระจายเชิงมุมของพลังงานคลื่นเป็นรูปแบบการกระจายในช่วง Azimuthal
และ
ซึ่งมุมเหล่านี้มีความสอดคล้องกับมุมตกกระทบของ
และ
ที่จุด P ตามลำดับ อย่างน้อยแนวคลื่นต้องถูกสร้างสำหรับคลื่นที่อยู่ภายนอกขอบเขตของการกระจายนี้ ซึ่งเพียงพอที่จะสมมุติให้เส้น Isobath เป็นเส้นตรง และใช้กราฟในรูปที่ 11 คำนวณหามุมเหล่านี้ จาก Dorrestein เราสามารถหา Refraction factor ได้เป็น

ซึ่ง
และ c คือ ความเร็วคลื่นในน้ำลึกและจุด P ตามลำดับ
ปัญหา: จากตัวอย่าง 5.1.2 มี h = 8 เมตร ที่จุด P T = 10 วินาที ดังนั้น
และจากกราฟรูปที่ 11 นำมาช่วยหาได้
องศา สำหรับ
องศา จงหาค่า
โดยทฤษฎีของ Dorrestein
คำตอบ: จากกฎของ Snell ได้
![]()
โดยปกติเพื่อความรอบคอบเราจะใช้หน้าต่างเล็กๆ
เป็นศูนย์กลางรอบๆ
(ในกนณีนี้เท่ากับ 20 องศา) ในการประยุกต์ความชันเชิงเส้นของความลึกผลัพธ์ที่ได้จะเป็นคำตอบที่เป็นค่าของความลึกของภูมิประเทศจริงๆ นั่นคือถ้าให้
องศา และ
องศา เราจะหาค่าจากกราฟรูปที่ 11 ได้
องศา และ
องศา แล้วจะได้


รูปที่ 12 ไดอะแกรมประมาณพฤติกรรมความสูงและคาบคลื่น ของคลื่นลมในพื้นที่น้ำตื้นของความลึกน้ำที่คงที่ เส้นทึบแสดงค่าจำกัดสำหรับระยะลมพัดแน่ทิศที่ไกล ส่วนเส้นประแสดงสภาพความสัมพันธ์ของระยะลมพัดแน่ทิศที่ระยะสั้น โดยเฉพาะที่ อัตราส่วน
= 3 000 (from Gr๖en and Dorrestein, 1976)
5.2 Wind-wave ในน้ำตื้น
ในน้ำตื้นความลึกของภูมิประเทศและสัดส่วนต่างๆมีผลกระทบของ Dissipation บนคลื่น ในที่นี่เราแสดงวิธีตรงสำหรับการพยากรณ์ของ Characteristic wave height
รวมถึง Wave period ในน้ำตื้น ซึ่งมีความลึกคงที่ ในตอนท้ายเราจะใช้กราฟรูปที่ 12 ซึ่งมีพื้นฐานเหมือนการเติบโตของเส้นโค้งในน้ำลึก แต่จะเพิ่มเทอมสำหรับขอบเขตของการเติบโตของคลื่นโดยมีอิทธิพลของความลึกมาคำนวณ ซึ่งจะมีความคล้ายคลึงกับการเติบโตของเส้นโค้งในน้ำตื้น แต่มีค่าสัมประสิทธิ์ที่ต่างกันบางค่า
ในส่วนแรกของบทนี้ เราได้สมมุติให้
มีค่าเท่ากับ Significant wave height
หรือ
โดยประมาณ และ
เท่ากับค่าของ Significant wave period
หรือ
โดยประมาณ เพื่อความกระชับเราจะแสดงเพียงอัตราส่วนของ
และ
ทั้งคู่เป็นฟังก์ชันของ
ซึ่ง U แทนความเร็วลมที่ระดับมาตรฐาน (มักจะใช้ค่าที่ 10 เมตรเหนือระดับน้ำทะเล) ในหน่วยของ เมตรต่อวินาที ความสูงคลื่น
และ ความลึก h แสดงในหน่วย เมตร และ Wave period
ในหน่วยของ วินาที โดยที่เส้นโค้งทึบแสดงค่า
และ
สำหรับความยาวของระยะ Fetch ที่เพียงพอ เช่น อัตราส่วนของ F/h มีค่ามากกว่า 3000 แล้วค่าของความสมดุลระหว่าง Wind input กับ Bottom dissipation สามารถหาได้ ผลกระทบของขอบเขตของระยะ Fetch แสดงสำหรับ F/h = 3000
ปัญหา: จงหา
และ
สำหรับ U = 20 เมตรต่อวินาที h = 10 เมตร และ ระยะ Fetch F = 200 กม. และ 30 กม.
คำตอบ:
สำหรับ F = 200 กม. F/h = 200,000/10 = 20,000 จากกราฟ 4.13 เราใช้เส้นโค้งทึบในการหาค่าได้
ขณะที่
หรือ
เมตร เป็น Characteristic height ที่สูงที่สุดสำหรับค่า U และ h นั้น ดังนั้น
วินาที
สำหรับ F = 30 กม. F/h = 3000 ใช้เส้นโค้งที่ F/h = 3000 จากกราฟรูปที่ 12 ในการหาค่าได้
ขณะที่
หรือ
เมตร และ
วินาที
-------------------------------------
เอกสารอ้างอิง :
- GUIDE TO WAVE ANALYSIS AND FORECASTING, 1998 (second edition) WMO-No. 702.
ผู้แปล: อุ้น
ผู้เรียบเรียง : เดี่ยว